Каталог товаров

Электропривод БЕЛИМО NFA

Код: РВР00107055
Нет в наличии
Страна происхождения
ШВЕЙЦАРИЯ
Единица измерения
шт
Вес (кг)
2.1
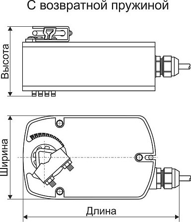
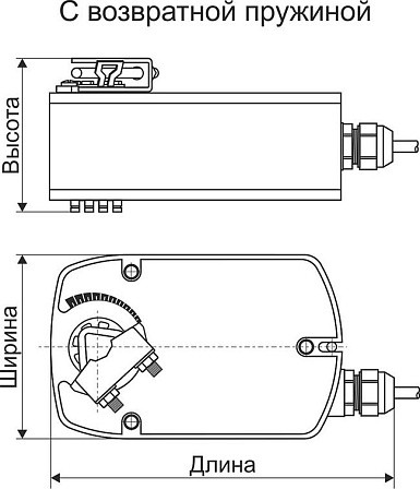
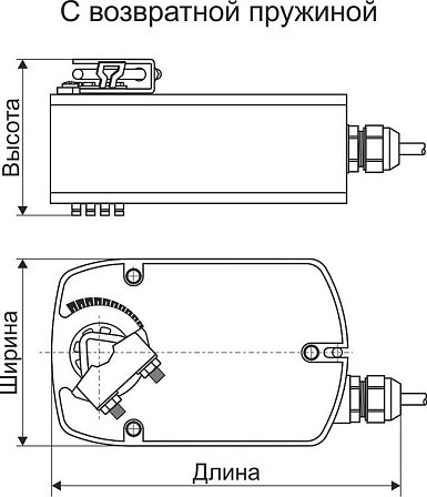
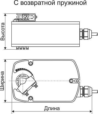
Высота (мм)
93
Длина (мм)
236
Ширина (мм)
98
Описание товара
Характеристики
Описание товара
Электропривод с возвратной пружиной предназначен для управления воздушными заслонками и клапанами, выполняющими охранные функции (например, защита от замораживания).
Характеристики товара

Технические характеристики электроприводов с возвратной пружиной

 

Тип привода

Номинальное

напряжение, В

Крутящий

момент,

Н·м

Площадь

заслонки,

м²

Потребляемая мощность, при вращении/в состоянии покоя, Вт

Управление

NF24A

24

10

2

6/2,5

Открыто/закрыто

* Подбор электропривода осуществляется по крутящему моменту и площади поперечного сечения заслонки.

** Вспомогательный переключатель: 1 однополюсный с двойным переключением 6 (1,5) А, 250 В~ (двойная изоляция), настраивается 0…100%.

*** Вспомогательный переключатель: 2 однополюсных с двойным переключением 1 мА… 3 (0.5)А 250 В~(1 фиксированный / 1 настраиваемый 11…90%).

** Площадь заслонки указана справочно. При выборе электропривода необходимо учитывать также величину необходимого крутящего момента.

 

Принцип действия. При перемещении привода в нормальное рабочее положение взводится возвратная пружина. При прекращении подачи питания энергия, запасенная в пружине, возвращает заслонку в охранное положение. Привод SFA снабжен универсальным блоком питания и может работать от 24…240 В~ 50/60 Гц / 24…125 В=.

Установка. Простая установка непосредственно на вал заслонки при помощи универсального захвата, снабжается фиксатором, предотвращающим вращение корпуса электропривода.

Надежность. Электропривод защищен от перегрузки, не требует конечных выключателей и останавливается автоматически при достижении конечных положений.

Ручное управление (для моделей NFA, NFA-S2, NF24A, NF24A-SR, SFA, SFA-S2, SF24A-SR). Ручное управление осуществляется при помощи ручного поворотного ключа. Привод можно заблокировать при помощи ключа в любой точке угла поворота. Блокировка снимается вручную или при подаче питания на привод.

 

Электрическая схема подключения


Эл_схема NFA, SFA.jpg