Клапан противопожарный ОЗ
Описание
Клапан противопожарный ОЗ изготавливается с режимами работы: (НО) нормально открытый; (НЗ) нормально закрытый.
Нормально открытый НО (закрываемый при пожаре) предназначен для блокирования распространения огня и продуктов горения по воздуховодам, шахтам и каналам систем вентиляции и кондиционирования при пожаре в зданиях и сооружениях различного назначения. Клапан устанавливается в проемах или в местах прохода указанных систем через противопожарные преграды с нормируемым пределом огнестойкости (противопожарные стены, перегородки и перекрытия).
Нормально закрытый (НЗ) (открываемый при пожаре) предназначен для открывания проемов и каналов для удаления дыма и газа в системах приточной и вытяжной противодымной вентиляции, а так же из помещений защищенных установками газового и порошкового пожаротушения. Клапан устанавливается в проемах стен, перекрытий, подвесных потолков, а также на участках воздуховодов.
При заказе клапана следует учитывать требуемый предел огнестойкости EI (60, 90, 120, 180) где:
E – потеря целостности. Она проявляется образованием в конструкции сквозных отверстий или трещин, через которые на обратную (необогреваемую) поверхность проникают продукты горения и (или) открытое пламя.
I – потеря теплоизолирующей способности. Она характеризуется повышением температуры на необогреваемой поверхности конструкции до предельных значений.
60, 90, 120, 180 – количество минут от начала огненного воздействия до проявления одного или нескольких признаков предельных состояний.
Применение клапанов осуществляется в соответствии с требованиями СП 60.13330-2020, СП 7.13130.2013 и действующими территориальными строительными нормами.
Конструктив
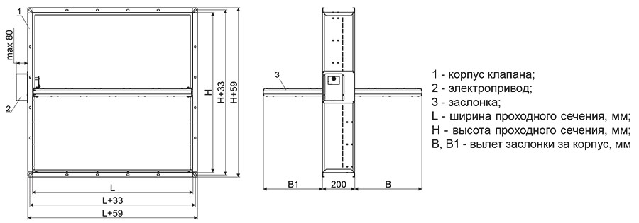
Клапаны состоят из:
- оцинкованного корпуса;
- заслонки из гипсовой плиты (для круглого клапана ОЗ);
- заслонки из стекломагнезитового листа (для прямоугольного клапана ОЗ);
- терморасширяющегося уплотнителя;
- привода управления заслонкой.
- односекционные ОЗ-60 (EI 60);
- двухсекционные ОЗ-90 (EI 90), ОЗ-120 (EI 120), ОЗ-180 (EI 180). В двухсекционных клапанах, между секциями проложен огнеупорный материал, выполняющий роль температурного шва.
Условия эксплуатации
Климатическое исполнение и категория размещения У3 или УХЛ2 по ГОСТ 15150-69. Для применения клапана в условиях климатического исполнения УХЛ2, привод клапана оснащается нагревательным элементом (ТЭНом).
Температура перемещаемой среды:
- для климатического исполнения У от -30 °С до +40 °С;
- для климатического исполнения УХЛ от -60 °С до +40 °С.
Относительная влажность не должна превышать 80 % при температуре +20 °С по ГОСТ 15150-69.
Окружающая среда не должна содержать агрессивных паров и газов в концентрациях, разрушающих металлы, лакокрасочные покрытия и изоляцию.
Клапаны не подлежат установке в помещениях категорий А и Б по взрывопожароопасности, в системах вентиляции и местах отсоса взрывопожароопасных и агрессивных сред, а также в системах, не подвергающихся очистке от горючих отложений.
Удельное сопротивление дымогазопроницанию*
|
L*H, мм (проходное сечение клапана) |
D, мм (диаметр проходного сечения клапана) |
Удельное сопротивление, м3/кг |
|
100*100...500*500 |
100...315 |
не менее 12000 |
|
свыше 500*500...1000*1000 |
355...710 |
13000...25000 |
|
свыше 1000*1000...1500*1000 |
800 |
свыше 25000 |
* Удельное сопротивление указано для цельного клапана (не в виде кассет) согласно таблицам типоразмерного ряда.
Схемы установки клапанов


Клапаны противопожарные ОЗ прямоугольного сечения
Клапаны противопожарные ОЗ прямоугольного сечения изготавливаются с шагом 50 мм.
Типоразмерный ряд клапанов прямоугольного сечения
|
Тип клапана |
Обозначение клапана |
Проходное сечение (L*H), мм (с шагом 50мм) |
||
|
минимальное |
максимальное |
|||
|
цельного клапана |
кассетного исполнения |
|||
|
Канальный |
ОЗ-60, ОЗ-90, ОЗ-120, ОЗ-180 |
100*100 |
1500*1000 |
3000*2000 |
|
Стеновой |
ОЗ-60, ОЗ-90, ОЗ-120 |
250*250 |
1000*1500 |
2000*3000 |
* Цельные клапаны размером свыше максимального изготавливаются в кассетном исполнении.

Примеры записи:
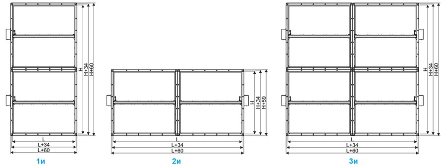
ОЗ-60-НО-1000*700(ЭМ/220)-К-СН
ОЗ-90-НО-1850*950(М-Iк/220)-К-СН
ОЗ-120-НЗ-1100*800(Р-Iк/220)-С-ВН-3и
Клапаны ОЗ-60, ОЗ-90 прямоугольного сечения канального типа

Зависимость вылета заслонок (B, B1) от высоты (H)
|
H, мм |
100 |
150 |
200 |
250 |
300 |
350 |
400 |
450 |
500 |
550 |
600 |
650 |
700 |
750 |
800 |
850 |
900 |
950 |
1000 |
|
B, мм |
0 |
0 |
20 |
45 |
70 |
95 |
120 |
145 |
170 |
195 |
220 |
245 |
270 |
295 |
320 |
345 |
370 |
395 |
420 |
|
B1, мм |
0 |
0 |
0 |
0 |
20 |
45 |
70 |
95 |
120 |
145 |
170 |
195 |
220 |
245 |
270 |
295 |
320 |
345 |
370 |
Клапаны ОЗ-120, ОЗ-180 прямоугольного сечения канального типа

Зависимость вылета заслонок (B, B1) от высоты (H)
|
Н, мм |
100 |
150 |
200 |
250 |
300 |
350 |
400 |
450 |
500 |
550 |
600 |
650 |
700 |
750 |
800 |
850 |
900 |
950 |
1000 |
|
B, мм |
0 |
0 |
10 |
35 |
60 |
85 |
110 |
135 |
160 |
185 |
210 |
235 |
260 |
285 |
310 |
335 |
360 |
385 |
410 |
|
B1, мм |
0 |
0 |
0 |
0 |
0 |
0 |
0 |
0 |
0 |
0 |
0 |
0 |
10 |
35 |
60 |
85 |
110 |
135 |
160 |
Клапаны ОЗ прямоугольного сечения канального типа в кассетном исполнении

Клапаны ОЗ-60, ОЗ-90, ОЗ-120 прямоугольного сечения стенового типа

Зависимость количества заслонок (n) и их вылета (B) от ширины (L)
|
L, мм |
250 |
300 |
350 |
400 |
450 |
500 |
550 |
600 |
650 |
700 |
750 |
800 |
850 |
900 |
950 |
1000 |
900 |
950 |
1000 |
|
B, мм |
0 |
0 |
10 |
35 |
60 |
85 |
110 |
135 |
160 |
185 |
210 |
235 |
260 |
285 |
310 |
335 |
370 |
395 |
420 |
|
n, шт |
1 |
1 |
1 |
1 |
1 |
1 |
1 |
2 |
2 |
2 |
2 |
2 |
2 |
2 |
2 |
2 |
320 |
345 |
370 |
Клапаны ОЗ прямоугольного сечения стенового типа в кассетном исполнении

Клапаны противопожарные ОЗ круглого сечения
Клапаны противопожарные ОЗ круглого сечения изготавливаются только канального типа с расположением привода снаружи.
Типоразмерный ряд клапанов круглого сечения
|
Тип клапана |
Обозначение клапана |
Типоразмерный ряд по диаметру проходного сечения (D), мм |
|
Канальный |
ОЗ-60, ОЗ-90, ОЗ-120 |
100; 125; 140; 160; 180; 200; 225; 250; 280; 315; 355; 400; 450; 500; 560; 630; 710; 800 |
Примеры записи:
- ОЗ-90-НО-560(М-Iк/220)-К-СН-ТРУ
- ОЗ-120-НО-450(ЭМ/220)-К-СН-ТРУ-фл3
- ОЗ-120-Н3-630(Р-Iк/220)-К-СН-фл3
Клапан ОЗ-60, ОЗ-90 круглого сечения

Зависимость вылета заслонки от диаметра сечения клапанов
|
D, мм |
100 |
125 |
140 |
160 |
180 |
200 |
225 |
250 |
280 |
315 |
355 |
400 |
450 |
500 |
560 |
630 |
710 |
800 |
|
B, мм |
0 |
0 |
0 |
0 |
0 |
0 |
0 |
0 |
10 |
25 |
45 |
70 |
95 |
120 |
150 |
185 |
225 |
270 |
|
B1, мм |
0 |
0 |
0 |
0 |
0 |
0 |
0 |
0 |
0 |
0 |
0 |
0 |
25 |
50 |
80 |
115 |
155 |
200 |
|
D1, мм |
125 |
150 |
170 |
185 |
200 |
235 |
253 |
286 |
309 |
349 |
384 |
434 |
479 |
534 |
589 |
665 |
739 |
829 |
Клапан ОЗ-120 круглого сечения

Зависимость вылета заслонки от диаметра сечения клапанов
|
D, мм |
100 |
125 |
140 |
160 |
180 |
200 |
225 |
250 |
280 |
315 |
355 |
400 |
450 |
500 |
560 |
630 |
710 |
800 |
|
B, мм |
0 |
0 |
0 |
0 |
0 |
0 |
0 |
0 |
15 |
35 |
55 |
75 |
100 |
125 |
155 |
190 |
230 |
280 |
|
B1, мм |
0 |
0 |
0 |
0 |
0 |
0 |
0 |
0 |
0 |
0 |
0 |
0 |
0 |
0 |
0 |
0 |
10 |
55 |
|
D1, мм |
125 |
150 |
170 |
185 |
200 |
235 |
253 |
286 |
309 |
349 |
384 |
434 |
479 |
534 |
589 |
665 |
739 |
829 |
Характеристики приводов производства РОВЕН и электромагнитных приводов
|
Модель привода |
Время поворота, с |
Крутящий момент, Нм |
Напряжение, В |
Потребляемая мощность, Вт |
Масса, кг |
Степень защиты |
|
|
во время вращения |
в состоянии покоя |
||||||
|
Электроприводы РОВЕН |
|||||||
|
RLE10-24S(H) |
<45 |
10 |
24 |
5,0 |
0,5 |
<1,8 |
IP54 |
|
RLE10-220S(H) |
220 |
||||||
|
RLF03-24S(H) |
<75 (пружина <25) |
3 |
24 |
5,0 |
3,0 |
<1,3 |
IP54 |
|
RLF03-220S(H) |
220 |
||||||
|
RLF05-24S(H) |
<70 (пружина <20) |
5 |
24 |
5,0 |
3,0 |
<2,0 |
IP54 |
|
RLF05-220S(H) |
220 |
||||||
|
Электромагнитные приводы |
|||||||
|
ЭМП18К-24 |
60 |
4 |
24 |
350 |
- |
1,3 |
IP20 |
|
ЭМП23-24 |
|||||||
|
ЭМП18К-230 |
60 |
4 |
220 |
30 |
- |
1,3 |
IP20 |
|
ЭМП23-230 |
|||||||
Электрические схемы подключения клапанов ОЗ

Не представленные в наличии модели доступны к поставке под заказ
Оповестить о поступлении
Всю необходимую информацию также можно получить по телефону «горячей линии»
+ 7 800 200 93 96или по телефону
+7 800 505 08 67 получить консультацию